Mechanical Room Noise and Vibration Control

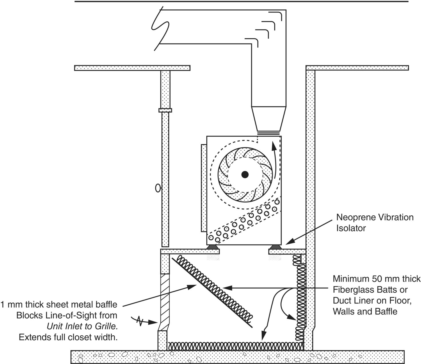
If the mechanical room is located on the ground floor of a building, transmission of noise and vibration through the floor is normally not a problem. However, care still needs to be taken to prevent noise and vibration propagating into adjacent spaces. Figure 13.29 shows a ground floor mechanical room where the intake air flow passes through a sound‐absorbent section, which prevents direct line of sight of the fan at the intake. The airflow into the fan does not make an abrupt change of direction at the fan entry. The fan unit is mounted on neoprene vibration isolators so that structure‐borne noise propagation throughout the building is reduced.

Schematic illustration of mechanical room on ground floor of building.
Figure 13.29 Mechanical room on ground floor of building. ibid © ASHRAE Schaffer Guide.

It has become common for architects to locate mechanical equipment rooms on the upper floors of multistory buildings, where they are often supported by lightweight flexible structural slabs and sometimes even positioned directly over critical areas requiring low noise levels. If considerable care is taken with the rooftop installation, the mechanical equipment room noise can be suppressed considerably.

As a result, however, some architects have now become even more daring and sometimes locate ventilation equipment rooms over auditoriums and other extremely critical occupied spaces. Since most mechanical rooms usually also contain many items of equipment in addition to fans (such as boilers, chillers, and pumps), the noise and vibration levels are accordingly very high, and often the floors need to provide over 50 dB transmission loss at low frequencies in order to achieve acceptable conditions below. Such a transmission loss cannot be economically obtained at low frequencies by a single layer floor slab [27].

In any noise control problem, one should begin remedial action by attempting to reduce the strength of the source. In this respect, mechanical rooms are not exceptions. All equipment radiating excessive sound power in mechanical rooms should be adequately silenced, if at all possible. For example, some or all of the following noise control techniques may be implemented [27]:

  1. Adding acoustical absorption to the walls and ceilings near large centrifugal fans (this may also be necessary for hearing conservation and communications between maintenance staff)
  2. Fitting of silencers at air intakes to forced draft fans which are open to the room
  3. Installation of acoustically lined plenum chambers around high power centrifugal fans
  4. Installation of resilient mounts and hangars to isolate piping, ductwork, wiring, conduit, etc. from the building structure
  5. Use of acoustical enclosures around reciprocating refrigeration machines.

To cope with these problems, mechanical and acoustical engineers have developed techniques to reduce and control both the noise and vibration emanating from such rooms. Figures 13.30 and 13.31 show noisy and quiet mechanical room rooftop installations. In the poorly designed HVAC system in Figure 13.30, the plenum liner is too thin to absorb low‐frequency noise, bends after the fun exhaust cause turbulence, low‐frequency noise and rumble and the fan vibration isolation is absent.

Schematic illustration of very noisy rooftop unit installation.
Figure 13.30 Very noisy rooftop unit installation [25]. ibid © ASHRAE Schaffer Guide.
Schematic illustration of very quiet rooftop installation.
Figure 13.31 Very quiet rooftop installation [25]. ibid © ASHRAE Schaffer Guide.

In the HVAC system in Figure 13.31, the sound‐absorbing plenum lining is increased to 100 mm. The plenum and the refrigeration system are mounted on a separate floor from which it is also vibration‐isolated. Cylindrical ducts rather than rectangular ones are used to reduce rumble and throbbing.

Comments

Leave a Reply

Your email address will not be published. Required fields are marked *