It has been found that, in field determinations of sound power, the sound intensity method is superior to the sound pressure method because it is affected less by background noise and the measurement environment. This section describes real sound power measurements on an automated packaging machine using both sound intensity and sound pressure methods.
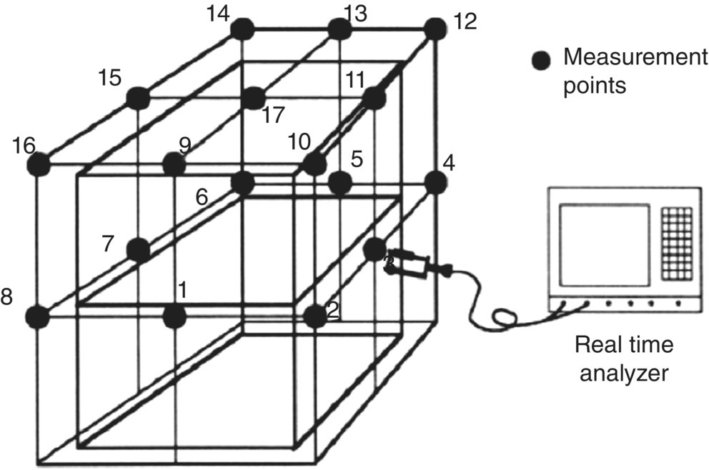
Sound power level measurements using the sound intensity method (ANSI standard Sl2.l2‐1992) and the sound pressure method (ISO 3744) were made on a packaging machine [101]. The packaging machine was located inside a big building in which other machines were operating nearby. Figure 8.64 shows the layout of the packaging machine.
The sound power measurements were made with a real‐time analyzer and a sound intensity probe with two phase‐matched 1/4 in. microphones. A measurement surface was defined and both sound intensity measurements and sound pressure measurements were performed on the measurement surface. Figures 8.65 and 8.66 show the sound power measurement set‐ups for both the sound intensity and the sound pressure measurements.



8.8.1 Sound Intensity Method
The sound power of the packaging machine was determined twice using the sound intensity method [101]. A measurement surface was first defined which had five plane rectangular surfaces and a total of five sound intensity scans was performed on these five surfaces; then each rectangular surface was subdivided into two halves, and a total often sound intensity scans was performed on the 10 surfaces. The sound power levels determined from the 5 scan and the 10 scan measurements are shown in Figure 8.67. Good agreement between the two sound power level results is seen. The final sound power level result for the packaging machine is the one obtained by the 10 scan method, according to the ANSI S12.12‐1992 standard.

8.8.2 Sound Pressure Method
The sound power of the packaging machine was also determined using a 17 point sound pressure method (ISO 3744.) Two environmental correction factor methods were used: (i) reference sound source method, and (ii) reverberation time (T60) method. Both methods gave acceptable sound power level estimates, except in the very low frequency bands where the sound pressure method failed because of the poor sound signal/background noise ratio. Only after the background noise was reduced by stopping other machines nearby could the sound pressure method be used. Figure 8.68 shows the signal/noise ratio condition in the in‐situ measurement. Figure 8.69 shows the sound power level results obtained from the sound intensity method and the sound pressure method using: (i) the reference sound source correction factor method and (ii) the reverberation time (T60) correction factor method.


For the reference sound source correction factor method, the environmental correction factor K was determined by placing a reference sound power source, on the center of the top surface of the machine and measuring the difference between the one‐third octave band sound power levels obtained from the 17 point sound pressure method and its known sound power level results obtained from sound intensity measurements in an ideal quiet anechoic environment.
For the reverberation time (T60) correction factor method, the environmental correction factor K was determined by measuring the reverberation time of the room in which the packaging machine was housed. Because of the poor signal/noise ratio and the impossibility of shutting off all the sound sources simultaneously, the reverberation time T60 was determined by making an impulsive sound and recording the decay in the sound pressure level with a tape recorder. Thus, the environmental correction factor K was calculated by:
(8.72)
where K is the sound power correction factor in decibels, S is the total surface area of the measurement surface, and A is the total sound absorption area of the room and is given by (see Chapter 3):
(8.73)![]()
where V is the total volume of the test room, and T60 is the measured reverberation time.
Reasonably good agreement was achieved between the two methods except for the very low frequency bands where the T60, method failed because of the lack of enough sound energy decay due to a poor impulsive sound signal/background noise ratio.
- The sound power determined from sound intensity measurements is less affected by environmental conditions because of the cancelation of the positive flow of background noise sound intensity into one measurement surface and the corresponding equal negative flow out of the other surface. If a sound source can be treated as a constant velocity source, as is usually the case for massive machinery sound sources, the background noise in theory has no effect on the sound power estimate of the source. Reflected sound changes the sound power radiated by the sound source at low frequency because of the “acoustical image effect.” In both cases Gauss’s law guarantees that the sound intensity method gives a true sound power estimate of a sound source, provided there is no energy sink inside the measurement surface.
- In general, the sound pressure method overestimates the sound power of a source if other significant background noise sources exist at the measurement site. If the sound pressure level, due to the background noise only, is at least 6 dB lower than the total sound pressure level due to the machine and background noise, the sound pressure method can be used as an alternative way to determine the sound power level of a noise source or to verify the sound power measurements obtained from the sound intensity method. In real situations, however, it is not always possible to meet this 6 dB criterion because sometimes it is impossible to shut down other operating machinery nearby. In the sound power measurements described in Section 8.82 of this chapter, some of the nearby machines were shut doom to meet this 6 dB criterion. Figure 8.68 shows the signal/noise ratio obtained after some operating machinery nearby was shutdown. Notice that the 6 dB criterion was not met in some low frequency bands.
- There are basically two types of environmental corrections, the reference sound source method, and the reverberation time (T60) method. Environmental corrections are possible only when the requirement concerning the signal/noise ratio stated in paragraph B) above is satisfied. The reference sound source method is more acceptable because it takes care of both the reflected sound and the background noise, and therefore gives a better sound power correction. The reverberation time T60 method tends to fail because it is not suitable for strong background noise situations.
The sound intensity method to determine the sound power of machinery noise sources is more accurate and useful in most real situations since the sound power estimates are much less affected by background noise and reverberation. It is not always possible to use the sound pressure method in practice. The 6 dB criterion must be met before the sound pressure method can be used. Once this criterion is met, the sound pressure method can give reasonably good sound power estimates. If the environmental correction factor is obtained for use in the sound pressure method, the reference sound source correction factor method is better than the reverberation time correction factor method because it takes into account both background noise and reverberation effects.
Leave a Reply